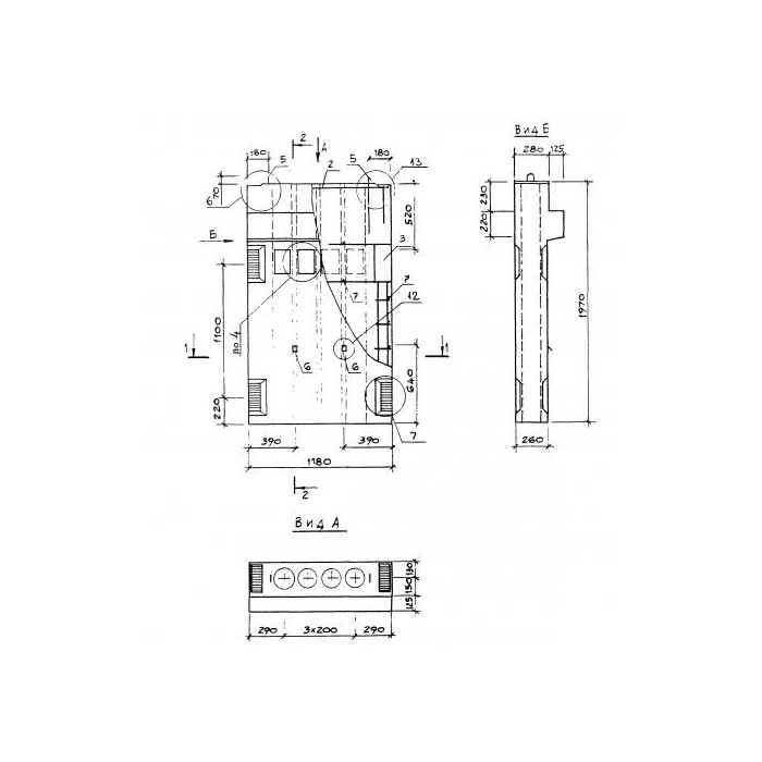
Вентблок-диафрагма 1ВД 20.30.26 представляет собой специальное железобетонное изделие, предназначенное для использования в строительстве. Он имеет прочную конструкцию, выполненную из высококачественных материалов, что обеспечивает надежность и долговечность изделия.
Вентблок-диафрагма 1ВД 20.30.26 широко используется в строительстве зданий и сооружений для обеспечения вентиляции и защиты от влаги. Он применяется в качестве элемента железобетонных конструкций, обеспечивая необходимую прочность и устойчивость. Такие изделия часто используются при возведении подземных сооружений, таких как подземные парковки, туннели, подземные склады и другие объекты.









